Rode NT1000 или Oktava MK105

  • Автор темы Автор темы barin
  • Дата начала Дата начала
И как давно в Emu 0202 плявился фантом?=)

Спасибо, вовремя заметили. Карточку Emu 0202 не знаю. Подумал что фантом так фонит. Если его в карточке нет, то тогда это наводки сети просачивающаяся в звуковой тракт. Эксперимент не мой. Думал человек пробует запитывать МКЭ-3 то от фантомки то от батарейки и фантомка такой фон выдает. А оказывается тупо человек пробовал как будет микрофон работать без питания. Никогда бы не додумался, что кому то такой эксперимент нужен.



О сколько нам открытий чудных
Готовят просвещенья дух
И опыт, сын ошибок трудных,
И гений, парадоксов друг,
И случай, бог изобретатель...

А.С. Пушкин
 
Последнее редактирование:
Стартер темы бери 102 октаву не ошибёшься.Очень хороший мик.Ровненький по тональному балансу.Не жесткий.За эти деньги подарок.
Как обладатель 105 скажу- только баяны им писать и перкуссию и всё.На остальное он не способен.Жесткий верх.булькающая резонансная середина и низ очень и очень сомнительный.На это мике так и не смог ничего свести вокальное, чтобы это звучало так как должно звучать.Плюнул лежит уже год в коробке пылится.
 
Последнее редактирование:
я вот с ебэя жду 2 лампы 6922 (телефункен и сименс), обе на 250$ потянули.. попробую с нтк.. (косяки с таможней-долго ехать будут)

И как с ними звучит Rode...? Можно выложить запись и сказать свои впечатления?!

а чем вообще может грозить не семетричный выход?

1.Возможно это даже и лучше - не балансный выход у микрофона, так как лишний раз не происходит манипуляции c сигналом - его разделения на две зеркальные(противофазные) части. При не дорогих, читай - не качественных, не продуманных трансформаторе, симметричной транзисторной схеме или неудачном выборе операционного усилителя или его обвязки, вносятся некоторые(а порой и боьшие) фазовые искажения - сигнал как бы пропускается через фленжер....тут возможна частичная или полная потеря воздуха и микродинамики. А подавление помех, наведенных на кабель, с нессиметричными схемами происходит так же как и с симметричными, при условии конечно, что у карты(приампа) балансный вход. Считаю что балансные и не балансные схемы выхода при хорошем их исполнении равноценны.

2.Вообще, если на эту тему говорить откровенно, то у дорогих(хороших) студийных микрофонов не должно быть преамплефаеров и они - микрофоны должны развивать линейный уровень сигнала - с физической точки зрения, для наиболее лучшего сохранения слабых сигналов которые составляют микродинамику и простите мое личное выражение - нанодинамику - то что музыканты называют воздухом в микрофоне. Но производители на это не пойдут, ведь может умереть большая часть индустрии преамплефаеров, а от туда и солидный доход в карман многих фирм. И производители и продавцы напишут мне - "Убей себя афтар аб стену...иди ты ф Бабруйск, животное!", как это уже было в моей журналистской и музыкальной практике. Если поговорить с серьезными радиолюбителями и незамороченными аудиофилами, а так же радиоинженерами, то лучше сразу в микрофоне создать такой уровень сигнала, пусть не линейный, но достаточный для того чтоб не беспокоиться о том, что происходит в кабеле. Симметричная линия это действительно гениальная вещ, но скорее для промышленных коммуникаций и хороших но не самых лучших студий звукозаписи. Музыке...звуку нужна СВОБОДНАЯ ЖИЗНЬ, где меньше фазовых и других перетрубаций, которые могут привнести искажения. Если признаться, то симметрия, призванная бороться с наведенными в кабель помехами, дает подавление синфазной помехи всего на -40дБ.....а что вы не знали...? Ну это еще пол беды, худшее что эти -40дБ очень близко находяться к уровню сигналов микро-нанодинамики(воздуха) - 38дБ. Так что в том что дает микрофону оживленность - воздухе, мы получаем примесь неотфильтрованного мусора, который бьет и искажает воздух как радиоэфирные помехи голос диктора в радиоприемнике. Вы бы слушали радиоприемник на частоте, где помеха воет и шкварчит на половину громкости голоса диктора? Тоесть -38дБ воздуха будут бороться с -40дБ мусора + нелинейные искажения предусилителя = упрощенное и обедненное звучание.

Ладно....расслабтесь...всемирно известная студия Abbey Road не парилась, что там симметричное, а что нет. Длинные кабеля как пить дать шли в связке хорошего качества мультикора или даже по защищенным дополнительной стальной экранировкой магистралям. Так же звук обогащался ламповым звучанием, дающим свою живую окраску, плюс, что очень не маловажно - талант звукорежиссеров, и вряд ли они - звукорежиссеры Abbey Road выбирали сугубо по принципу симметричности или ассиметрии, скорее они пробовали микрофоны на слух и определялись, что нужно для работы и не искали ЛУЧШИЙ МИКРОФОН "всех времен и народов", а применяли конкретную модель для конкретной ситуации/задачи. Вот список микрофонов Abbey Road и судите сами чем мотивировались звукорежжисеры при выборе данных микрофонов.

3.Так же нужно хорошее согласование импедансов микрофон - преам, тогда влияние кабеля уменьшается.

P.S. Борис Гребенщиков, в составе группы "Аквариум", писал свои альбомы "Zoom zoom zoom", "Беспечный Русский Бродяга" и "Лошадь Белая" на нессиметричный микрофон индивидуальной конструкции Никиты Иванова - двухшнуровой, где по одному шнуру идет питание , а по другому линейный сигнал...да, да...линейный. Вот послушайте(клик правой кнопкой мыши и "сохранить по ссылке как"), или вот посмотрите его песню "День радости"
 
Последнее редактирование:
  • Like
Реакции: Pan W, show_master и Ifrit
Стартер темы бери 102 октаву не ошибёшься.Очень хороший мик.Ровненький по тональному балансу.Не жесткий.За эти деньги подарок.
Как обладатель 105 скажу- только баяны им писать и перкуссию и всё.На остальное он не способен.Жесткий верх.булькающая резонансная середина и низ очень и очень сомнительный.На это мике так и не смог ничего свести вокальное, чтобы это звучало так как должно звучать.Плюнул лежит уже год в коробке пылится.

Да, чтоб не суетиться, не браться за паяльник и ни чего не переделывать, возможно лучше взять как вариант Октава МК-102...тут много за и нет между тем же "МК-105", Cifrovoymag здесь прав, нет базара. Но сразу оговорюсь, что микрофон "Октава МК-105" хороший прибор, который за рубежом стоит 500-550$ и выше, а после доработки разными передельщиками и доработчиками на подобе фирмы Майкла Джоли или частного мастера Дьюка Уокера, работающего с раритетными микрофонами, цена на МК-105 подымается до 750$ и выше и это только после простой замены деталей и не замены принципиальной схемы после которой звук может стать по истине на высоте, так как в МК-105(как и в МК-102) мембрана из мембран...лучшее что придумала "Октава", эта же мембрана ставится в три раза более дорогой ламповый Октава МКЛ-5000. Вы же хотите получить от МК-105 супер качество дорогово микрофона, когда он стоил на 2009 год 255$ а на 2010г - 292 $, тоесть в пределах цены( по западным аналогиям) микрофонов начальной категории. При очень хорошей мембране в нем стоит схемотехника микрофона средней ценовой категории. И на свои деньги он работает хорошо. Более правильная схемотехника у Октава МК-319, но мембрана там по проще от его скромного предшественника Октава МК-219, которому так полюбляют переделывать heatbasket для более лучшего и открытого звучания. Октва МК-319 старый проверенный майк, выпускаемый и сейчас, который есть во многих западных студиях. Он отлично рулится и насыщается, прилично сидит в миксе, как за щет хорошей мембраны, удачной акустической характеристики heatbasket так и правильно подобранного на выходе конденсатора, который в сочетании с выходным трансформатором формирует требуемые границы АЧХ, не пускающего в дальнейший тракт мусора. Так же уважаемый у "Октава" микрофон МК-012. Ко всем этим микам прекрасно подойдет не дорогой пред Ператроника, т.к. реально он стоит на одном уровне с западными аналогами до 400-500$. Выше имеет смысл брать брать уже DBX и подобное. Лично я взял звуковую карту...типо сделаную в USA "Lexicon I-Onix" cо встроенными предусилителями DBX...не жалуюсь, претензии только к хрустящим при кручении регуляторам каналов Lexicon, которые пришлось заменить.

92318_DSC_5885_chb_Oktava_105_nikel_mini.jpg
На фото лидер криворожской рэп-группы "Горчичная пыль" Александр Гезенок, поющий в микрофон "Октава МК-105 nikel"

"Жесткий верх, булькающая резонансная середина и низ очень и очень сомнительный" - так выразился Cifrovoymag. Кто все это слышит в "Октава МК-105"- у того золотые уши и тогда вы услышите разнообразные артефакты и в уважаемых микрофонах других фирм....даже самых уважаемых(звукорежи слышат). Ибо микрофона без казусов и "боков" просто не существует. Иначе был бы единый - самый лучший микрофон, которым бы все и пользовались. Английская звукозаписывающая компания Mercury Records, член одного из крупнейших мировых медиа-холдингов, входящего в "Большую четвёрку" — Universal Music Group, изображала в 50-х годах у себя на обложках виниловых дисков образ микрофона Neumann U47 - прообраза качества звука текущей эпохи, но при этом имела много других микрофонов. У студий были чуть ли не целые линейки микрофонов заслуженных брендов, а то и по нескольку десятков экземпляров одной серии.

Меня в "Октава МК-105" больше тревожит туман в низах, который Cifrovoymag назвал "Очень и очень сомнительный низ". Это не сомнительный низ, а обилие и даже изобилие супернизов/нижних низов, которые висят отдельно от общей звуковой картинки микрофона этакой пеленой. Поставив на выходе микрофона конденсатор 100мкф "Октава" выпустила черезмерное обилие детализации и шумов в области всего спектра: низов, середины и особенно верхов, что может слышаться как резкое звучание. И это при норме для звука 1 мкф...!!! Микрофон стал выдавать все не нужные ньюансы того, что происходит во всем микрофонном тракте УНЧ МК-105 и его мембраны. Даже ставя на выходе 1 мкф производители беспокоятся хотябы за корректировку низов и верхов. Например в районе 40-50 герц пытаются погасить АЧХ на -2дБ, в районе 30 герц на -3-5 дБ, а к 20 герцам загасить сигал до -8-15дб или полностью. Абсолютно лишать низов с 20 до 50-80 герц не всегда целесообразно, так как теряется ощущение живого голоса в басах и они становятся стерильными. Но "Октва" всего вышеуказанного по корректировке не сделала, опять таки повторю: для опускания хорошей мембраны на уровень микрофона среднего класса и назначила ему соответствующую этому классу цену.

Представте, что у вас усиленное в 100 раз зрение...и вы вместо того, чтоб писать реферат будете рассматривать на листе тетради волокна целлюлозы, а вместо улыбки друзей видеть поры на их лицах и каждую волосинку....подобная вещ может произойти и у микрофона при увеличенной его выходной емкости, кроме увеличения детализации будет лезть и не нужный мусор, резкость, туман. 1мкф на выходе микрофона - норма. Такую емкость ставят обычно капиталисты Neumann и другие буржуи во внутренних УНЧ своих миков в конце всех каскадов усиления, по крайней мере в старых нойманах был на выходе 1мкф. А в Neumann U89 стоит и того меньше номинал - 0.33мкф. Легендарный AKG C12 имеет на выходе с трансформатором U66 конденсатор 1мкф, в остальных случаях 0.5 мкф., так же и в первых С414 поставлен 1 мкф по выходу, а более поздние версии AKG C12 пирожкообразной формы с буквенными индексами имеют - 3.3 мкф....Это мы рассмотрели группу дорогих и хороших микрофонов.
В стороне стоят отдельно микрофоны для телерадиовещания и применение больших емкостей в них на выходе можно объяснить необходимосью и целесообразностью. Большой номинал конденсатора 47-220 мкф в этих микрофонах, в сочетании с трансформатором или в составе Г-фильтра или П-фильтра, дает крутой и резкий спад АЧХ на краях диапазона - узкого для специфики эфира.

На кривой, расположенной ниже, сделанной в программе RMAA показана начало и конец АЧХ, которая снята с конденсатора МБМ емкостью 1мкф. Зеленая кривая - образцовое АЧХ пустого канала звуковой карты и белая кривая - это АЧХ конденсатора. Как видно по кривой на графике, звук только на 37-38 герц падает на 2 дБ. АЧХ олдового Neumann U47 с его 0.5 мкф на выходе и первой лампой VF-14м, давало чуть меньше низов. Его 2дБ отклонения от идеальной АЧХ были - уже на частоте 42 герца , а при более поздней лампе RV-14m эти же 2дБ терял на 51 герце...и ничего, все звучало.

Мировые микрофоностроители не зря выбрали на выходе внутреннего микрофонного УНЧ в моделях высшего класса конденсатор емкостью 1 мкф и стараются придерживатся наименее возможных номиналов. Конденсатор 1 мкф в достаточной мере пропускает весь спектор частот и увеличение его приведет к увеличению пролезания шумов и разной звуковой грязи по всему спектру, и чем выше по частоте, тем сильнее.


Кривая АЧХ у электролита 100 мкф практически полностью повторяет кривую собсвенной АЧХ звуковой карты, тоесть на низах конденсатор передаст(как бы не попутать буквы в слове) "хорошо" самые низкие частоты и весь низкочастотный "воздух"(хлам), который рулится на эквалайзере с выделением мусора + непонятные средние и задранные верха. Ну это если уж совсем наругать МК-105 не смотря на его класс и цену.

Выбор октавовцами (и другими микрофоностроителями в таких же микрофонах среднего класса) кондера 100мкф логически понятен - хотели убить двух зайцев одновременно - получить мощные басы и теоритически идеальную АЧХ, типа - давай побольше микрофарад на выходе - "Маслом каши не испортишь". Далее у поговорки есть продолжение - "Но нападет срачка". И она напала: с такой большой екостью 100мкф октавовцы при первых прослушиваниях микрофона наверно съежились от обилия прущих через край верхов....в чем дело? - подумали они, обрезная емкость высоких частот, обычно находится в пределах до 1000 пф, но что то она не помогает!. А давайте, подумали октавовцы, заху...забульбеним побольше эту обрезную емкость. И не смотря на опыт королей звука - Neumann, который полюбляет ставить всего 220 пикофарад, захерачили в МК-105 номиналы С7 и С8 обрезных конденсаторов высоких частот в схеме аж 0.01 мкф(10 000 пф).

На самом деле это шутка и было все не так, это был суровый расчет как со стороны Октавы, так и других микрофонных фирм применяющих этот не хитрый прием ухудшайзинга для создания модели среднего класса на базе капсюлей от более дорогих моделей, но об этом ниже.

Итак, что же мы имеем во все этом бардаке?​
Это пять схем формирования АЧХ микрофона, для образования умышленно- ухудшенного или нормального звучания микрофонов с целью образования как сфер применения/назначения микрофона так и его ценовой категории​
.


1. Старая и надежная, как делалось в превых микрофонах середины прошлого столетия - на выходе у УНЧ микрофона стоит конденсатор 0,5-1мкф, которого достаточно для удобоворимого звука. Лишние высокие обрезаются попутно и "случайно" паразитной емкостью и собственно индуктивностью трансформатора, так же емкостью и кабеля, которая в среднем составляет 100 пф на метр. В Neumann формирование АЧХ на прямую зависит от трансформатора - это его сердце. Это классические микрофоны Neumann U47 немногим дальнейшие серии этого же уровня звучания. Тут же конечно и легенда - первые зелнелые "огуречики" - AKG C12. Еще плюс этих всех старых моделей, что в те времена не было тотальной стандартизации на 48 вольт фантомного питания и каждый производитель запитывал микрофон(мембрану) напряжением от своего источника питания, такого которое считал нужным, а это было что то около 80-и вольт. Что благодатно отражалось на соотношении сигнал-шум и динамических характеристиках.

2. Более новая - то же что и вышесказанное, только добавились обрезные конденсаторы высоких частот по 220 пф - а вдруг вы включаете микрофон прямо разъемом в приамп(шутка) или у вас длинна кабеля 2 метра и менее.

3. Нужно же делать микрофоны среднего класса? И если AKG их планку опустил изготовив мерзопакостные электретные мембраны( О Господи...), то не менее умные дяди "ухудшировали" звук взяв уже дорогую мембрану и увеличили выходную емкость конденсатора внутреннего УНЧ микрофона до 47 мкф-220 мкф и в приамп прорвались все, что только можно частоты без разбору, кроме всего добавилось и шума. А еще за счет обилия высоких частот понадобилась большая обрезающая их емкость на выходе и получилась классическая для этой рассчитаной на ухудшение схемы обрезающая высокие частоты емкость номиналом 0,01-0,02 мкф и даже дополнительные конденсаторы шунтирующие симметричную линию для дополнительного обрезания высоких частот. Что мы получаем в итоге? Звук вроди бы и хорош, так как мембрана не из дешевых, но микрофон уже в нише средних микрофонов, что и требовалось производителю...низа в тумане или иных каках-бяках...не очень хорошо поддаются выруливанию эквалайзером - лезет грязючка, верха задранны и в них то же как то не комфортно, да и за остальной спектр не очень. Но опять таки оговорюсь....качество звучания соответствует цене.

4. Этот метод формирования АЧХ микрофонов для телерадиовещания, так как именно для последнего он и разрабатывался.
а) Метод вышестоящего пункта №3 - для более дешевых микрофонов
б) В выходном каскаде конденсатор большой емкости, тоесть сигнал уже ухудшен, но завершает схему Г-образный LC(индуктивно-емкостной) фильтр с конденсаторами емкостью 0,0033 мкф(3300 пф) -220 пф, который плавно но уверенно срезает высокие частоты, которые затухают в пределах заданного диапазона. И высокие не морочат голову, а где то сходны с высокими из пункта №1.
в) То же что и в пункте б), только употребляются более сложные одно и двухзвенные фильтры Чебышева и Баттерворта, проще говоря П-фильтры, которые напрочь (12дБ-15дБ) обрезают все что выше заданной частоты, для телерадиовещания это 15 000- 18 000 герц. А порой и меньше вплоть до 3000-6000 герц.

5. Человеческий метод формирофания сигнала, АЧХ - это, например Neumann серии "U" начиная с "Neumann U47 fet". Например в том же U89 совместились все последние достижения микрофоностроения: полноценная двухтактная транзисторная схема на скомпонованных транзисторах n-p-n и p-n-p проводимости, как в дорогих и качественных УНЧ бытовой радиоаппаратуры, дающе минимальные искажения + преобразовавтель DC-DC для повышения напряжения подаваемого на капсюль, что дает улучшение характеристик капсюля + неэлектролитический конденсатор небольшой емкости (не больше 1 мкф), а именно 0,33 микрофарада на выходе, + трансформатор для более естественного, живого звучанитя (читайте дедушку Лихницкого да и не только его) и в качестве удобной пассивной развязки и симметрирующего устройства. Трансформатор не архаичность, как это сейчас утверждается в рекламме самими же микрофоностроителями....не забывайте про гордость Георга Наймана - трансформатор разработанный для U47, без которого он не звучит. Далее по цепи УНЧ, на всякий случай - легкий штрих в виде ненавязчивых емкостей номиналом 100-220 пф, припаяных как и везде "жила-земля", обрезающих излишние высокие. Конденсаторы поставленны как и везде в микрофонах после трансформатора, на всякий случай если вдруг у вас кабель 2-3 метра и короче и вы не сможете его собственной емкостью "жила-оплетка" создать фильтр излишних высоких частот.


Попробуем повторить ход Георга Ноймана с его рассчитанным трансформатором
И в чем же был собственно расчет? Почему Георг Нойман так уделял ему внимание и почему этот трансформатор являлся предметом гордости для него? Что за секрет в нем хранился?​

Трансформатор работал как устройство согласующее импедансы(сопротивления) микрофона и преампа, так же создавал им гальваническую развязку и делал микрофону в ряде моделей симметричный выход ....ну это банально и известно многим - так работают все трансформаторы....третье и самое главное - в сочетании с выходными конденсаторами представлял собой прекрасный фильтр формирующий заданные частотные границы работы микрофона, где мягко обрезались лишние низа и верха.....и никакого тумана с лишними и ненужными нижними частотами и ни каких задраных верхов.
Вот что получилось, например у меня - расчитать и спаять из попавшихся под руку конденсаторов МБМ и двух выходных НЧ трансформаторов из простенького СССРовсого радиоприемнтка "Селга". Получился конденсаторно-трансформаторный фильтр, границы работы которого я задавал для диапазона 80-6000 герц, необходимого для радиоэфирного ESSB - вещания. Смотрите АЧХ снятое с фильтра с помощю программы RMAA. На нижней и верхней частотной границе фильтра получилось 2 дБ затухания и дальнейшее резкое затухание внеполосного сигнала. На верхней картинке резко спадающая на высоких частотах АЧХ, которая снята при емкости С1 - 220мкф фильтра . Нижняя картинка - более полого падающая на верхних частотах АЧХ - при емкости конденсатора С1 - 1мкф. Применение одного трансформатора без конденсатора повторяет АЧХ конденсатора 100мкф.


P.S. О капсюлях и акустическом сопротивлении Heatbasket не сегодня.

Электролиты - это конденсаторы с повышенным уровнем собственных шумов, а насыщать сигнал шумом в предварительных каскадах очень не разумно. Так же они несколько хуже по качеству звучания передают сигнал нежели их неэлектроличические собратья. Понижая емкость со 100мкф до 1мкф мы соответственно и уменьшаем уровень шумов и пролезания в усилительный тракт всякого ненужного мусора. При замене емкости на 1мкф уйдет из низов туман и середина станет поприличней, а если у вас микрофон для речи(радио-диктора) или рэпа, то неплохо будет попробовать зашунтировать этот кондер 1мкф(5-10мкф...какой вы там подберете) неэлектролитическим конденсатором 0.033мкф дающим чистоту и разборчивость в речевом спектре и вся середина и верха станут почище. Поставить, можно отечественный конденсатор, не уступающий по качеству звука многим зарубежным известным и уважаемым брендам, это например К40у-9, который смягчает звук, если ваша мембрана звучит резковато. Если звук мембраны и так мягкий, то употрблять К40у-9 не стоит, так как может быть эффект затуманивания звука. Заменив на конденсатор МБГЧ - получим слегка жирное звучание. А конденсатор ФТ-3 передаст звучание капсюля таким каково оно есть, кроме того более раздельно зазвучат прописаные на микрофон голоса и инструменты. Не плох для применения в микрофоне конденсатор К72П-6. Следует учесть, что вышеуказанные конденсаторы, кроме К40у-9, отличаются не мальенькими размерами и если вам не удастся достать нужный номинал на не высокий вольтаж, то конденсатор большего вольтажа вы можете и не всунуть в микрофон. Применяют так же шунт из комбинации конденсаторов для получения нужного звучания.

Проще конечно октавовские электролиты заменить на приличный электролитичекий конденсатор уважаемого бренда....простите, за термины: c малым тангенсом диэлектрических потерь, например "Jensen", который и гарантировано прилично звучит, имеет хороший "моторесурс" - не будет подсыхать через 5-10 лет с вытекающими из этого последствиями: начинать глухо звучать, бубнеть и постепенно все больше и больше глохнуть, теряя как верха так и низа, как это происходит у бюджетных моделей микрофонов Nady....как я понимаю там возможно проблема та же - в средне-статистической по качеству элементной базе. И не забывайте за конденсатор перед биполярным транзистором, в схеме обозначен как С3. Его можно заменить на, например, супермалошумный "Jelmax BlackGate" серии "С" или что дешевле - отечественный ФТ-3(К40у-9). Можно попробовать так же ФТ-3 вместо кондера из многослойной керамики по схеме - С2, который стоит после капсюля. Многослойная керамика будет по лучше чем обычная, которая придает звуку резкозти, жескости и звона....но все же слово "по лучше" не сильно утешает, когда есть гарантированно проверенные для звука конденсаторы. Кстати в последних Neumann U87Ai/U89i применены конденсаторы керамические и из многослойной керамики. И где теперь этот прославленный ноймановский звук?

Звучание, при замене выходного конденсатора, поменяется ощутимо. А процент изменения звука, при замене в схеме конденсаторов С2 и С3, будет не велик. При малых сигналах конденсаторы не сильно проявляют свои отрицательные/положительные и окрашивающие свойства. Не забудте при замене выходного конденсатора уменьшить так же емкости высокочастотных обрезных конденсаторов по схеме С7 и С8 до 220 пф или на слух до 1000-3000 пф, но не более. В лучшем случае повзаимствуйте схему Г-фильтра у "Gefell MT 71 S". Методы расчета намоточных данных заданных индуктивностей есть в интернете. Такой Г-фильтр будет полезен если все же капсюль жестко звучит на верхах или возможно для рэпа - избавитесь от многих проблемных высоких звуков.

Интересные факты:
1.По наблюдениям передельщиков и ремонтников тоже есть интересные моменты - у старых Neumann звук родного капсюля К7(К47) меняется при замене родного трансформатора, которым так хвастался Георг Нойман. А звучание AKG C12, вернее его капсюля СК12 примерно одинаково, вернее индивидуально и характерно с усилителями от разных миков, лишь приобретается разный оттенок звучания. Все равно хорошие детали для микрофонных УНЧ нужно пробовать, так как в большинстве микрофонов, даже в дорогих миках применяеся средненькая по качеству элементная база.

2. Из двух преамплефаеров, одинакового класса схемотехники, будет звучать лучше, чище, разборчивей, с более лучшей картиной расположения инструментов и наличия более прозрачного воздуха именно тот экземпляр у которого меньше входная емкость и более приближена к номиналу 1-2мкф. Среди ламповых преампов не редки с входной емкостью 47мкф, что черезчур с перебором. Чем мотивировались разработчики? Наверно загнать звук приампа и сам приамп в разряд "средневатеньких". Усилители сделаные для себя, например такая классика как преамп Манакова, имеет на входе 0.22 мкф. Большие входные емкости звуковых карт отыгрывают не лучшую службу для хорошего качества звучания и потому оцифровываемый ею звук будет зависеть не только от параметров АЦП, но и от того на сколько хорошо продумано формирование АЧХ у приамплефаера, в частности от входной и выходной емкостей. Большая входная емкость звуковой карты это как полностью открытая дверь для разных частот...типа "Заходи кто хочешь". Перед звуковыми картами не ставиться задача по формированию АЧХ, а с минимумом влияния и вмешательства в звук, передать дальше по тракту все то, что карте подается на вход.


На фото - криворожский рок-гитарист Василий Сокольский, на фото поющий и играющий в черный и никель "Октава МК-105", простите, микрофон сориентирован активной стороной к камере - так лучше видно headbasked, так голова МК-105 меньше сливалается с чернотой поп-фильтра(ведь тыльная сторона головы-сетки МК-105 черная).

БЫСТРОЕ УСТРАНЕНИЕ ЗАДРАНЫХ ВЕРХОВ: для тех кто не хочет лезть во внутрь "Октава МК-105", чтоб подкорректировать звук, можно сделать следущие допайки прямо в штеккер шнура, который вы используете с микрофоном:

Если у вашей "Октва МК-105" по вашему мнению задраны верха, паяем внутри штеккера к его пину №2 конденсатор по такой схеме, подбирая на слух, что лучше подходит из номиналов 4n7,10n,22n,47n, по принципу - больше емкость - меньше остается верхов. После завершения подбора припаиваем такую же емкость к пину №3 для сохраниения одинаковых емкостных фазовых характеристик симметричного кабеля. Более эффективным будет LC Г-фильтр из четырех деталюшек, как у "Gefell MT 71 S"на выходе, но для этого нужна будет уже отдельная коробочка.
Внимание...!!! Во время подбора конденсатора на втором пине, возможно появление небольшого фона и потери в сигнале воздуха - для настроечных работ это нормально. Зашумление происходит за щет емкостной фазовой разбалансировки кабеля, которая устраняется допайкой на третий пин конденсатора аналогичного подобранному. Если вы педант, меряющий микроны, взвешивающий миллиграммы и слышащий то что не слышат другие, то для полного спокойствия души можете сделать окончательную подгонку емкостей до полного их емкостного равенства. Для этого мультиметром измеряется емкость 2-ой пин-земля и 3-ий пин-земля и производиться подгонка-допайка дополнительных емкостей, если хотите с точностью до одного пикофарада. Такая обвязка конденсаторов уже не уместится в разъеме XLR и прийдется прибегнуть к помещению всей этой трахомудии в маленькую коробочку. Такая работа не пройдет зря - вы совершили акт по улучшению фазовой характеристики симметричной линии(подгона в норму), в следствии чего уменьшится уровень шумов при подавлении синфазной помехи, прозрачней станет воздух, и в верхней середине и верхах будут сочнее обертона и раздельней и внятней зазвучат несколько вместе записаных голосов или инструментов.

Кстати, "О птичках".... дорогие микрофонные кабели отличаются минимальной разницой в погонной емкости первая жила-оплетка и вторая жила-оплетка. Например, если кабель Soundking по цене 1$/m имеет разницу емкостей жил порядка 10пф/м, то такой уважаемый кабель как Canare® L-2T2S ценой 2.6-2.9 $/m всего 0.5пф/м, а Вelden 46349 и того меньше - 0.12-0.15пф/м. Если кабель Canare® L-2T2S признаный и проверенный в звучании, а на сайте muzoborudovanie.ru даже провели приборно-ушной тест в составе инструментальных и квадропольных кабелей, поставив его на верхушку имеющихся в наличии тестируемых симметричных кабелей, то увы, друзья мои, как звучит кабель Вelden 46349 я не знаю, а только измерял его приборно и весьма положительно удивлен, тем более что он дешевле Canare® L-2T2S. Братом по качеству и конкурентом звучания у Canare есть не менее, а может даже и более уважаемый бренд - Mogami, кабеля от которого так полюблял Neumann и комлектовал ими свои ламповые микрофоны.

И не берите кабелей Proel и Bespeco, так рекламируемых и впихуяемых в музыкальных магазинах....у них есть достойные марки, но большинство их изделий это полнейшая карикатура: сплошная экономия меди, расхлебанная оплетка и другой негатив. Так же абсолютно не вызывает доверия, рекламируемый магазином audioshop.com.ua кабель "Van damme 268-02-000", который якобы широко употребляется в студиях звукозаписи...с ним та же история - тонюсенькие хиленькие медные жилочки и жиденький расхлябанный экран. Рекламма дешевого микрофонного кабеля Stagg муз.магазинами как малошумного так же не правдива. Вот его сравнение по шумам с Canare® L-2T2S.


В этом материале я не браню "Октава МК-105", а делаю анализ положительных и компромисных сторон, которые есть у всех микрофонов. Я за "Октава", я за "МК-105", люблю его и рекомендую(а особенно с доделками мелкими), пытаюсь "озвучить" все это, а не слепо ставать адептом секты "Октава" или Rode, Neumann, Gefell, Audio-Technica, Sennheiser, Shure и других уважаемых брендов у каждого из которых есть "свой скилет в шкафу", больший или меньший. "Октава МК-105" отношу к отличным мирофонам и он уверенно тягается в тестах с микрофонами ценовой категории 700$ при своей цене на 2011 год - 292$. И тут же попутно коплю свой черный список микрофонов - "не пришей кобыле хвост", например в него я причисляю того же AKG C3000 и "ламповейшого из ламповейших" микрофонов Nady TCM-1050...список можно продлжить...

ВЫВОД: Не катите бочку на "Октава" - источник относительно не дорогих и интересных микрофонов положительно известных и применяемых за рубежем в приличных студиях где даже есть Neumann и звукореж сморкается не в шторы, а в платок.
 
Последнее редактирование:
Еще бы примеры звучания мк105 До и После. :i-m_so_happy:
 
Попытался связаться с автором... Будем надеяться :) Есть ещё один умелец, которому я возможно напишу. Мы восстановим звуковую справедливость!
 
эх, схема пропала за давностью лет :(

Никуда не пропала - я так же ей владею. Схема действительно "небалансная". + в ней нет ни одного переходного и вольтодобавочного (выходного в том числе) конденсатора. Выходное сопротивление 1,3 Ом, искажения на частоте 1000 Гц, 1 Вольт (RMS) 0,0005% (экв 70 пФ), а на "крейсерском" звуковом давлении вообще тяжело регистрируются (измерения реальные, не программные). Преобладает только вторая гармоника, третья и далее - практически отсутствуют. Уровень шума на самых дешёвых (не малошумящих) полевиках не превышает 14 дБ, на малошумящих полный ажур. Коэффициент передачи этого преобразователя-повторителя незаурядный - около 0,99 (экв 70пФ). "Внутрисхемная" рабочая полоса 2000000 Гц, на выходе фильтр по вкусу. В схеме есть возможность повышения уровня второй гармоники практически без затрагивания третьей и далее. Звучание в этом случает становится невероятно выразительным. К концу года я рассчитываю отработать универсальный мод на этой схеме ну и наконец открыть "ящик Пандоры" для всех желающих. Одно не пойму - почему раньше этого никто не сделал.
 
Никуда не пропала - я так же ей владею.


Я вставлю 5 копеек.
Собираюсь собрать свою первую домашнюю студию, для самостоятельного и независимого творчества.

Хочется Октаву.
Долгое время думал, что октава идеальна (опираясь на многочисленные отзывы).
Но тот кто ищет, тот всегда найдет, и я наткнулся на критические отзывы.

Один человек говорит, что вообще все микрофоны фуфло, кроме ламповых с ценой начиная от 800 usd :Dle50:

Другой на ютубе сделал 1000 обзоров по "измерениям", и осмотрев АЧХ микрофонов октавы выдал вердикт - всё гауно :D:D

Мне честно говоря пофиг, я знаю что хочу октаву. 105-ую.
И нашёл пост Дмитрия в ЖЖ, числящийся 2013 годом. Вот он - https://dz.livejournal.com/721352.html?thread=22071240#t22071240
Оговорюсь, никогда не паял. Возможно буду просить помочь отца. Да и на уроках физики заботы были другие. Но... Учиться никогда не поздно?)))

Но как я понял, можно вернуть бас заменой конденсаторов. Ещё, Дмитрий довольно скептически пропустил отзыв о транзисторах в схеме. Они тоже плохие?

Короче, что я пытаюсь выяснить сейчас : Какие заказать конденсаторы, и сколько?
Входной - один, на 1uf и 50v, так?
А сколько шунтирующих? Если входной на 1мкф то сколько нф будет на других конденсаторах?
Сейчас запоем пробую разобраться в радиотехнике, диоды там,бегущие по ним электроны. Учиться никогда не поздно.
Наверстать.
 
-- По полевикам: 170-й - конечно, хороший транзистор.
Но у него довольно большая входная ёмкость, и если в схеме (которую я не видел) нет её компенсации - то
лучшие результаты вполне могут быть получены с совсем другими транзисторами.
Возможно, что с совсем неожидаными - выбирайте их "методом тыка".

В идеале - хорошо бы знать ёмкость самого капсюля, но эти цифры редко публикуются,
и в основном для измерительных микрофонов.
 
И нашёл пост Дмитрия в ЖЖ, числящийся 2013 годом. Вот он - https://dz.livejournal.com/721352.html?thread=22071240#t22071240

Что-то Дмитрий загнул... если на выходе поставить 1 мкФ то при подключении микрофона (например) к карточке E-MU 0404 потеря мощности голоса на частоте 150 Гц составит почти ДВА РАЗА.
Замените только два фильтрующих конденсатора на выходе другими, ёмкостью 1 нФ. И больше ничего не делайте. Схема настолько ущербная, что тратить на доработку время уж точно не стоит. НЧ можно легко корректировать после записи.
 
Что-то Дмитрий загнул... если на выходе поставить 1 мкФ то при подключении микрофона (например) к карточке E-MU 0404 потеря мощности голоса на частоте 150 Гц составит почти ДВА РАЗА.
Замените только два выходных конденсатора на другие, ёмкостью 1 нФ. И больше ничего не делайте. Схема настолько ущербная, что тратить на доработку время уж точно не стоит. НЧ можно легко корректировать после записи.
Я наверное подожду открытия ящика Пандоры) возможно к этому времени созрею на какой то другой микрофон))
 
Я наверное подожду открытия ящика Пандоры) возможно к этому времени созрею на какой то другой микрофон))

Даже, если я отработаю плату и отошлю вам - маловероятно, что Вы сможете заменить "шило на мыло" самостоятельно. Здесь необходима достаточно опытная рука.
 
Даже, если я отработаю плату и отошлю вам - маловероятно, что Вы сможете заменить "шило на мыло" самостоятельно. Здесь необходима достаточно опытная рука.
Да мне по барабану, сломаю и взорву так сломаю и взорву.
Я сделал документ на 10 страниц, куда перенёс все рассуждения Мистера Бойко. Уж поверьте, у меня сил хватит разобраться и подобрать себе "команду" для модификации. Выпаять 10 деталек и впаять их не справлюсь?

А что до вас, вы сами сказали, что хотите зачем то выложить по окончанию работы в общий доступ свои наработки.
Хотя мне достаточно конкретизированных инструкций что и на что поменять, что, по большей части, сделано Дмитрием. Да, я профан в электротехнике, но меня это не остановит от эксперимента.


p.s. хотя мне не понятно, что вас привлекает в том что бы делиться наработками. В америке целый бизнес сделали по модификации Октав.Что вас останавливает? Геморрой?
 
Почему то человек провёл длительную работу с любимым делом, довольно много рассказал... А вы тут сомнения устроили, не зная меня. Вы меня знаете?)
Вот уже ошибку нашли в его теории, потерю мощности с 1мкф кондером. Видимо это связано с тем, что сам Дима использует мощный преамп, а не студийную карточку, я правильно понимаю?
 
Выпаять 10 деталек и впаять их не справлюсь?

Там не детальки нужно буде выпаивать, а всю плату с деталями целиком выкидывать на помойку и устанавливать на её место другую плату с совершенно другой схемой. + я должен знать точные габариты оригинальной платы - иначе вообще ничего не получится.
 
  • Like
Реакции: Long
Там не детальки нужно буде выпаивать, а всю плату с деталями целиком выкидывать на помойку и устанавливать на её место другую плату с совершенно другой схемой. + я должен знать точные габариты оригинальной платы - иначе вообще ничего не получится.
Когда я куплю микрофон, смогу сообщить вам измерения)
Или попросить кого нибудь из владельцев, как раз есть один блогер-чинильщик на ютубе который разбирал 105-ую модель на видео. Можно у него спросить.
[automerge]1588013605[/automerge]
- вот он, но он ничего не делал, просто расковырял и заковырял обратно.
 
Почему то человек провёл длительную работу с любимым делом, довольно много рассказал... А вы тут сомнения устроили, не зная меня. Вы меня знаете?)
Вот уже ошибку нашли в его теории, потерю мощности с 1мкф кондером. Видимо это связано с тем, что сам Дима использует мощный преамп, а не студийную карточку, я правильно понимаю?

Возможно и связано (тайно, в его сознании) но он просто пишет - : "А вы можете попробовать заменить выходной кондер с емкости 100мкф на(подбираем что звучит лучше) 20-10-5-1 мкф.". Тут про 1 мкФ он точно загнул. Да и 5 мкФ под большим вопросом для 99% звуковых карт.
 
Когда я куплю микрофон, смогу сообщить вам измерения)
Или попросить кого нибудь из владельцев, как раз есть один блогер-чинильщик на ютубе который разбирал 105-ую модель на видео. Можно у него спросить.

Вероятно я к тому времени куплю этот рыдван и сделаю всё по месту.
Может быть действительно стоит начать именно со 105-ой...
Мало того - продемонстрирую записи До и После операции Ы. Здесь на форуме.
 
p.s. хотя мне не понятно, что вас привлекает в том что бы делиться наработками. В америке целый бизнес сделали по модификации Октав.Что вас останавливает? Геморрой?

Это не просто "наработка" это, вполне возможно, первый в мире преобразователь импеданса "без потерь" с большой нагрузочной способностью, достаточно малым шумом, достаточно широкой динамикой неискажённого сигнала, с практически полным отсутствием внутрисхемной интермодуляции и нелинейных искажений без применения общей ООС и конденсаторов в сигнальных цепях включая выход,... на широкодоступных и дешёвых элементах. Своего рода революция в микрофонной схемотехнике.
Я очень хочу чтобы Он принадлежал всем, чтобы ни одна "цыганская шельма" не смогла заявить "ЭТО МОЁ", поскольку доселе Он не применялся ни в одном микрофоне за всю их историю.
Готовлюсь представить.
 
Последнее редактирование:
Это не просто "наработка" это, вполне возможно, первый в мире преобразователь импеданса "без потерь" с большой нагрузочной способностью, достаточно малым шумом, достаточно широкой динамикой неискажённого сигнала, с практически полным отсутствием внутрисхемной интермодуляции и нелинейных искажений без применения общей ООС и конденсаторов в сигнальных цепях включая выход,... на широкодоступных и дешёвых элементах. Своего рода революция в микрофонной схемотехнике.
Я очень хочу чтобы Он принадлежал всем, чтобы ни одна "цыганская шельма" не смогла заявить "ЭТО МОЁ", поскольку доселе Он не применялся ни в одном микрофоне за всю их историю.
Готовлюсь представить.
Желаю удовлетворения от проделанной работы, тёзка.
Я продолжу начатое исследование, слишком сильно отстал от науки)
 
  • Like
Реакции: Павлунчик
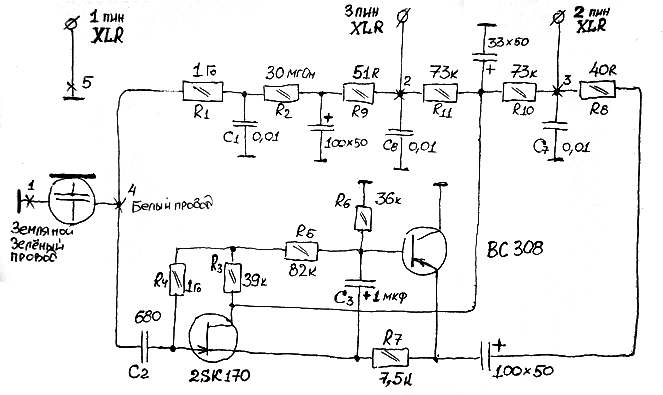
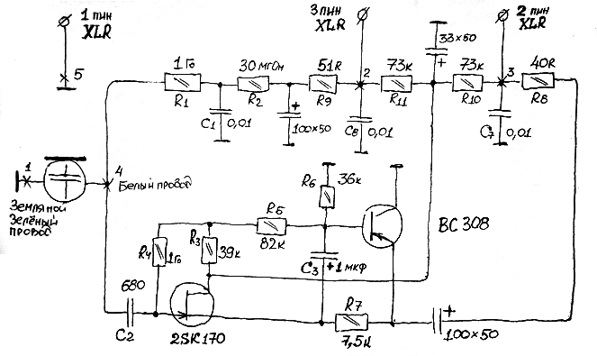
-- Пардон муа - но, может, кто-нить в конце концов покажет изначально обсуждаемую схему?
А то непонятно об чём вообще разговор.
 
-- Пардон муа - но, может, кто-нить в конце концов покажет изначально обсуждаемую схему?
А то непонятно об чём вообще разговор.

Да вот же. Вот октава. Я хочу модифицировать.
В рарке - все, что писал пользователь ut5edt в этой теме.
Павлентий видимо решил изобретать свою схему.
Я на несоизмеримо меньшем уровне понимания науки (вчера начал изучение с азов, диоды, резисторы).
Но надежды на то что мне все разжуют и в рот положат - мало. А времени - много. А творчество делать хочется)
[automerge]1588027175[/automerge]
Как там говорил Мандалорец из сериала одноимённого, таков Путь?))
 

Вложения

  • Oktava_MK-105.gif
    Oktava_MK-105.gif
    34,1 KB · Просмотры: 377
  • Oktava MK-105.rar
    Oktava MK-105.rar
    44,3 KB · Просмотры: 189

Сейчас просматривают